想了解設備資料?報價?售后?請留言,速回電
廠家直銷,留言立享本月優惠價免費提供環保政策、辦廠手續、投資預算等資料
隨著資源開采的深化,國內目前更加重視非金屬選礦的研究,尤其是非金屬選礦技術工藝及設備的優化成為了研究。就以高嶺土來說,目前國內在其選礦工藝技術上已經有了很大進步。在高嶺土選礦工藝中,常用的主要有干法工藝和濕法工藝兩種。一般硬質的高嶺土采用干法生產,軟質采用濕法生產。

干法工藝是一種簡單經濟的加工工藝,采出的原礦經過破碎機碎到25mm左右后,給人籠式破碎機中,使粒度減小到6mm左右,吹入到籠式破碎機內的熱空氣將高嶺土的水分由采出時的20%降到10%左右,碎后的礦石則經配有離心分離機和旋風除塵器的吹氣式雷蒙磨進一步磨細。該工藝可將大部分砂石除去,干法加工的高嶺土產品性質往往反映天然高嶺土的原有性質,因此干法生產適用于白度高、砂含量低、粒度分布適宜的礦石,干法生產的成本低,產品通常用于橡狡、塑料及造紙工業的低價填料。下圖為實際的應用舉例。
.jpg)
濕法工藝包括礦石準備、選礦加工和產品處理3個階段。
1、準備階段
準備階段包括配料、破碎和搗漿等作業。搗漿是將高嶺土與水、分散劑混合在搗漿機內制漿,搗漿的目的是使高嶺土原礦碎散,為選礦作業制備成適當細度的高玲土礦漿,并同時去掉大粒的砂石。
2、選礦加工
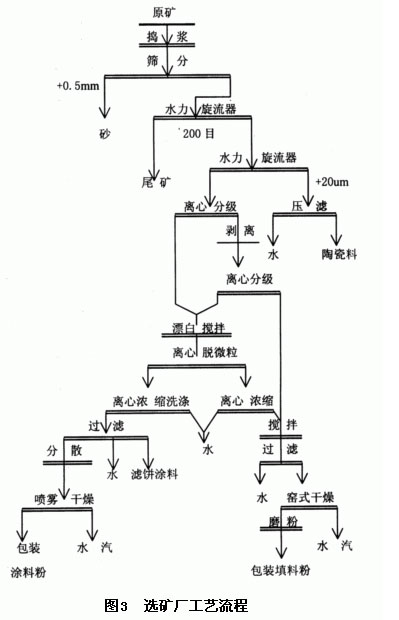
選礦階段可能包括水力分級、浮選、選擇性絮凝、磁選、化學處理(漂白)等作業,以除去不同的雜質。準備好的礦漿可先經耙式分級機、浮格分級機或水力旋流器除砂,然后再用連續式離乙機、水力旋流器、水力分選器或振動細篩(325目)將其分為粗細兩個粒級,如果此種產品已能滿足某種工業的要求,也可以加人絮凝劑(例如明礬)使高嶺土凝聚而便于脫水。如需得到高質量的高嶺土(如白度大于85%的高嶺土),在絕大多數情況下需要進行磁選、漂白、浮選或選擇性絮凝。下圖為具體的生產工藝流程圖:
.jpg)
1、 破碎設備:顎式破碎機
2、 粉碎設備:錘式破碎機
3、 磨粉設備:雷蒙磨粉機
4、 超細粉磨設備:球磨機
5、 干燥設備:烘干機
6、 煅燒設備:回轉窯
由于不同地區的高嶺土性質上存在很大的差異,所以在工藝及設備選擇上也有很大的不同,所以,我公司將根據物料的性質為客戶合理設計高嶺土選別工藝及生產線設備配置,從而保證這類非金屬礦選別質量。
河南鄭州高嶺土選礦設備免費咨詢熱線:0371-67772626
想了解設備資料?報價?售后?請留言,速回電
廠家直銷,留言立享本月優惠價免費提供環保政策、辦廠手續、投資預算等資料
3分鐘前 高先生:時產200噸制砂機報個價,處理鵝卵石
8分鐘前 李先生:移動式破碎機怎么解決粉塵問題?
13分鐘前 徐女士:需要制砂機,南寧能看制砂現場嗎?
16分鐘前 程先生:破碎生產線出個方案及報價,有什么售后服務?
22分鐘前 鄭女士:想了解時產500噸錘破,加工石灰石
31分鐘前 吳先生:成套石頭破碎設備有嗎?給個詳細產品資料
36分鐘前 羅先生:每小時100噸左右的鄂破和反擊破,推薦下型號
42分鐘前 梁先生:膨潤土磨到200目,用什么磨粉設備?
提交留言我們會第一時間回復您!
該設備通過浮選的方式來選別礦石物料中的銅、金等金屬物質,適用于銅礦、金礦石、鐵礦石等金屬礦石的浮選分離,目前,被廣泛用于選金設備和選銀設備,浮選效果好,廣受用戶歡迎,下面我們就來詳細了解浮選機的具體情況。
2018-05-21電石渣是工業生產過程中產生的廢渣,是固體廢棄物的一種,長期大量的堆積會對環境及人體帶來嚴重的危害。因此,研究對電石渣的綜合利用及深加工,實現其附加價值有著重要的意義。本文就電石渣的綜合利用技術進行分析研究。
2015-01-06白鎢礦的選別主要采用浮選法,一般分為兩個階段即粗選和精選段。白鎢精選工藝目前主要有:(1)加溫法;(2)731氧化皂常溫浮選法(731常溫法)。
2014-06-23由于弱磁性礦物(如赤鐵礦、褐鐵礦、菱鐵礦、黃鐵礦等)的磁性弱,可以利用磁化焙燒的方法將它們變成強磁性鐵礦物(磁鐵礦或赤鐵礦),然后利用弱磁選的方法回收。本文將對弱磁性礦物的磁化焙燒工藝進行介紹。
2014-05-17在濕法超細粉碎后,需要進行脫水,過濾是常用的方法,可將料漿水分降到18%~25%左右。本文主要介紹在濕式超細粉碎中應用的一些過濾設備。
2013-07-29我公司生產的鋼球煤磨機、風掃煤磨機、雙進雙出煤磨機是火力發電站四大輔機之一,是煤粉制備系統的主題設備,主要用于煤粉磨各種硬度的煤炭。同時也適用于水泥、冶金、化工等行業的煤炭及礦石原料制粉系統。下面分別介紹各類型磨機的性能與特點。
2012-08-14